Das Bild in deinem Beitrag ist vom Fronti, das sieht bei mir etwas anders aus, die defekte Leitung ist aus Kunststoff, die enden sind speziell, wovon die Druckspeicherseitige schlichtweg durchgerostet ist, anbei mal ein paar Bilder, die rostigen Klumpen an den Enden des neuen Schlauch sind die originalen Teile, den Kleinen mußte ich dann noch tauschen, gegen einen Schlauchnippel 6 mm mit Überwurfmutter M14x1,5 90° gebogen, ist ein Normteil.
Das Verlegen der "neuen" Leitung erwies sich aber als schwierig, da der neue Winkelanschluss mehr Platz brauchte. mit n bißchen drücken und schieben ging das aber so, das alles gut unter dem Tankschutzblech passte, ohne zu scheuern, nicht das ich mir gleich die nächste Baustelle konstruiere.
Es wird jedoch angestrebt, wieder eine originale Leitung zu verbauen, wenn sich noch eine Brauchbare auftreiben läßt.
desweiteren besteht die Option, diese Leitung nachfertigen zu lassen, wir haben hier in der Nähe eine Fa., die Kraftstoffleitungen für Pkws herstellt, da sollte wohl was gehen, ich bräuchte dafür aber ein Muster, schon wegen der Anschlüsse

- der vernuckelte Anschluß an der langen Kraftstoffleitung

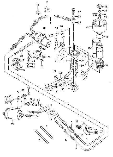
- der Druckspeicher

- der Anschluß zum Druckspeicher (durchgerostet)

- der Anschluß zum vernuckelten Rest, im Prinzip wie Verbindung Bremsleitung/-schlauch