Seite 1 von 1
elektrisches Schiebedach: Verschraubung Motoreinheit
Verfasst: 30.10.2024, 11:59
von Fussel
Hallo zus@mmen,
aktuell habe ich nun zwei Motoreinheiten inklusive Betätigungsschalter und Endschalter. Eine davon funktioniert auch, wäre daher bereit für den Einbau. Das Dauerplus habe ich auch schon im Himmel untergebracht. Allerdings frage ich mich, wo man anstelle der Kurbel dann die Motoreinheit festschraubt?
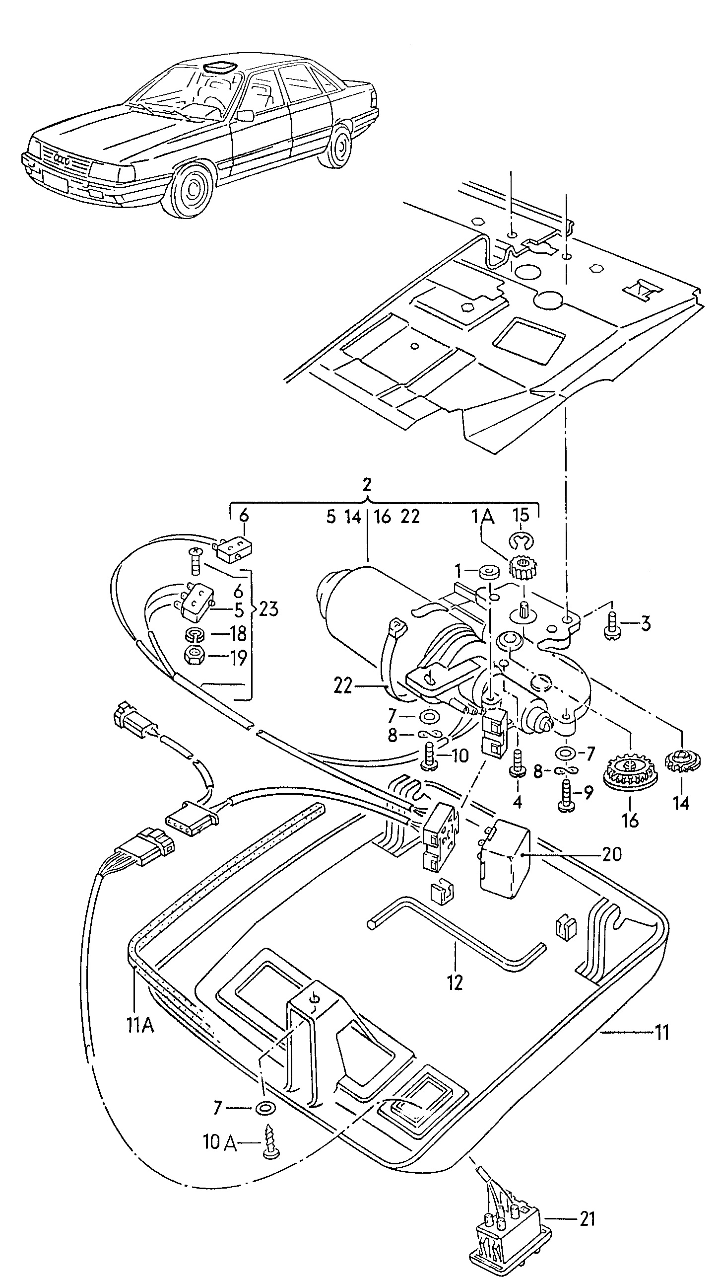
Hier der Auszug aus dem Teilekatalog, es sollten die Linsenschraube M4 x 6 mit der Nr 3 sein - allerdings ist diese nur 1x aufgeführt und laut Bild sollte es diese 2x geben... Wird die Einheit dann nur vorne am Ritzel verschraubt und und hinten hängt sie in der Luft? Oder wird es hinten dann noch zusätzlich mit der montierten HImmelabdeckung fixiert? Im Bild die Nummer 10: Linsenblechschraube 4,2 x 13

- Elektrische Betätigung für's Schiebedach
- Elektrische Betätigung für Schiebedach.jpg (703.54 KiB) 5236 mal betrachtet
Hier noch ein Photol meines Avants mit mechanischer Betätigung:

- Audi 100 Avant Schiebedach mechanisch
- Schiebedachhimmel Avant.jpg (535.24 KiB) 5236 mal betrachtet
Ich habe immer nach den metrischen Gewinden gesucht, aber wenn ich das nun richtig sehe, werden für die mechanische Betätigung mittels Kurbel sowie für den Elektromotor die gleichen beiden Schrauben verwendet (Im Bild mit einem Pfieil markiert). Ist das richtig? Oder gibt es da ein geändertes Innenblech am Himmel mit anderen Anschraubpunkten? Ich habe schon nach Photos im Netz gesucht, die das elektrische Schiebedach zeigen, habe allerdings keine gefunden
Quattrogetriebene Grüße,
Fussel
Re: elektrisches Schiebedach: Verschraubung Motoreinheit
Verfasst: 30.10.2024, 12:16
von StefanS
Hallo Fussel,
der "mechanische Antrieb" (das Teil mit den zwei roten Pfeilen zu den Befestigungsschrauben) entfällt - statt dessen wird dort der elektrische Antrieb befestigt.
Keine große Sache. Nur darauf achten, dass sich das Dach beim entfernen des mechanischen Antriebs nicht bewegt.
Die beiden Züge, die das Dach bewegen, verschieben sich sehr leicht - schon ein Zahn genügt und das Dach läuft schief bzw. öffnet/schließt nicht mehr sauber.
Gruß Stefan
Re: elektrisches Schiebedach: Verschraubung Motoreinheit
Verfasst: 30.10.2024, 15:29
von Daniel Turbo10V
Hallo Fussel,
bevor du den Schiebedachantrieb montierst:
1. Schiebedach mit der mechanischen Einheit auf "geschlossen" bringen.
2. Mechanische Einheit demontieren
3. Elektrische Antriebseinheit
NUR mit Spannung versorgen
4. Nun einmal in beide Endlagen OHNE das Schiebedach "angekoppelt" zu haben fahren d.h. Öffnungsfunktion und Hubfunktion anfahren.Danach wieder in "geschlossen" Stellung fahren.(So prüfst du ob die Endschalter funktionieren)
5. Jetzt in der "geschlossen Stellung" der elektrischen Einheit an das Getriebe anbauen
6. VORSICHTIG PROBEFAHRT IN ALLE STELLUNGEN
7. GESCHAFFT!!!
Gruß Daniel
Re: elektrisches Schiebedach: Verschraubung Motoreinheit
Verfasst: 30.10.2024, 15:53
von Joe 10v
Servus Fussel
Mechanischer Einbau war bei mir kein props
Passt plag and play
Die Elektrik beim VFL war nicht ohne, aber du hast ja NFL da isses vieleicht vorgesehen.
Hast du auch die Dachhimmel Abdeckung für den Umbau ?
Die baut höher auf......
Mfg
Re: elektrisches Schiebedach: Verschraubung Motoreinheit
Verfasst: 01.11.2024, 18:22
von Fussel
Hallo Stefan,
StefanS hat geschrieben: ↑30.10.2024, 12:16
Keine große Sache. Nur darauf achten, dass sich das Dach beim entfernen des mechanischen Antriebs nicht bewegt.
Die beiden Züge, die das Dach bewegen, verschieben sich sehr leicht - schon ein Zahn genügt und das Dach läuft schief bzw. öffnet/schließt nicht mehr sauber.
Danke, das Problem kenne ich von meine BMW: nach der Lackierung passt das Schiebedach nicht mehr und läßt sich nicht mehr öffnen. Ich habe es gefühlt schon 100x aus- und wieder eingebaut. Mit und ohne Dachhimmel (weil neu bezogen), mit und ohne DIchtung und weiteren Kombinationen. Auch haben Kumpels schon gemeint, dass ich mich nicht so anstellen soll - sind dann aber auch mit mir verzweifelt...
Dann werde ich mich irgendwann mal sehr vorsichtig dran wagen...
Quattrogetriebene Grüße, Fussel
Re: elektrisches Schiebedach: Verschraubung Motoreinheit
Verfasst: 09.11.2024, 19:25
von JMS Bavaria
Hallo,
sorry wenn ich mich hier einklinke, aber mein elektrisches Schiebedach schließt nicht sauber und ich möchte es richtig einstellen (vom Vorbesitzer scheinbar nicht korrekt eingebaut worden).
Wenn ich deine Anleitung richtig verstanden habe, ist das Dach mit einer mechanischen Einheit in die richtige Position zu bringen und danach ist der elektrische Motor wieder einzubauen. Geht es auch ohne mechanische Einheit?
Danke auch
Daniel Turbo10V hat geschrieben: ↑30.10.2024, 15:29
Hallo Fussel,
bevor du den Schiebedachantrieb montierst:
1. Schiebedach mit der mechanischen Einheit auf "geschlossen" bringen.
2. Mechanische Einheit demontieren
3. Elektrische Antriebseinheit
NUR mit Spannung versorgen
4. Nun einmal in beide Endlagen OHNE das Schiebedach "angekoppelt" zu haben fahren d.h. Öffnungsfunktion und Hubfunktion anfahren.Danach wieder in "geschlossen" Stellung fahren.(So prüfst du ob die Endschalter funktionieren)
5. Jetzt in der "geschlossen Stellung" der elektrischen Einheit an das Getriebe anbauen
6. VORSICHTIG PROBEFAHRT IN ALLE STELLUNGEN
7. GESCHAFFT!!!
Gruß Daniel
Re: elektrisches Schiebedach: Verschraubung Motoreinheit
Verfasst: 09.11.2024, 21:27
von Fussel
Hallo Jürgen,
Du kommst ja aus meiner Heimat - bin in den Haßbergen geboren und aufgewachsen
JMS Bavaria hat geschrieben: ↑09.11.2024, 19:25
sorry wenn ich mich hier einklinke, aber mein elektrisches Schiebedach schließt nicht sauber und ich möchte es richtig einstellen (vom Vorbesitzer
Alles gut - dafür ist das Forum doch da, dass sich jeder dran beteiligt und zusammen wird dann auch ein Schuh draus
JMS Bavaria hat geschrieben: ↑09.11.2024, 19:25
Geht es auch ohne mechanische Einheit?
Was meinst Du mit
"ohne mechanische Einheit"? Daniel meinte damit die mechanische Kurbel, die beim Umrüsten auf den Elektroantrieb dann weggebaut wird und gegen Motor ersetzt wird.
Quattrogetriebene Grüße, Fussel
PS: Hast Du die Reparaturanleitungen von "DerSporti" schon gesehen? Da ist bestimmt auch etwas für's Schiebedach dabei... schau mal nach "Reparaturleitfaden" und "Der Sporti" - da findest Du bestimmt einiges interessantes!
Re: elektrisches Schiebedach: Verschraubung Motoreinheit
Verfasst: 09.11.2024, 21:41
von Daniel Turbo10V
Hallo Jürgen,
wenn ich es richtig verstehe ist es schon elektrisch dein Schiebedach?
Dann versuche doch bitte folgendes:
1.Schiebedach elektrisch so schließen wie du es für TIP-TOP erachtest.
2.Antriebseinheit JETZT demontieren(vom Getriebe abnehmen)
3.Antriebseinheit ohne dem Getriebe in alle Endlagen fahren
4.Antriebseinheit auf "geschlossen" fahren
5.Jetzt wieder montieren
6.
Vorsichtig in alle Endlagen fahren
7.Ich hoffe das klappt
Gruß Daniel
Re: elektrisches Schiebedach: Verschraubung Motoreinheit
Verfasst: 09.11.2024, 21:48
von JMS Bavaria
@Fussel
Danke habe es gefunden und Grüße in die Nachbarschaft
@ Daniel
Ja richtig, ist schon elektrisch. Und danke für die kurze Anleitung. Werde ich mir vornehmen, wenn ich die Bremsanlage und die Hydraulik überholt habe

.